Ten years ago, 3D printing was the preserve of a select group of hobbyists. Now there’s a good chance that your mother-in-law will also happily print in 3D to make that one special lever for operating an indispensable piece of equipment which can no longer be found anywhere. Nowadays, 3D printing is called ‘Additive Manufacturing‘ and it brings science fiction within reach.
Forget about the filament printer at your mother-in-law’s house. Additive Manufacturing is used to make the most advanced products, such as aircraft parts and jaw prosthetics.
Europe’s top regions
The European Patent Office issued a report on 3D printing in 2020. This revealed that most patent applications hail from the US. But Europe is not doing badly at all. Together, Munich, Barcelona, Zurich, Berlin and the Dutch Brainport region form the top 5 in Europe. And one of the front runners in the Brainport region is Luxexcel. Science fiction literally pokes its head around the corner at this high-tech company given that Luxexcel is incorporating high-tech innovation within the eyewear industry.
Their 3D printers are able – among other things – to print razor-sharp prescription lenses for glasses using specially designed ink droplets. This opens up a wealth of new possibilities, such as the integration of an adjustable sun filter. We will finally be rid of those automatically self-tinting lenses that only do their work after 20 minutes. Instead, just tap your high-tech glasses when you walk outdoors on a sunny day and tap your glasses again when you go back inside.
Smart layers
Luxexcel demonstrates how many more smart layers can be integrated into a lens. Just like Google Glass, except in your regular pair of glasses, so that you won’t need to walk around with a futuristic minicomputer on your nose. The technology works differently than the 3D printers most people are familiar with. During the 3D printing process, the smart layer is encapsulated by tiny droplets and the rest of the glass is printed around it this way. The smart layer, which projects images into the eye, is therefore fully embedded in the lens at prescription strength, which makes the glasses look like conventional, fashionable spectacles. In addition, the layer is well protected against shocks, dust and moisture.
Augmented reality
You are probably already familiar with these smart layers: Take the head-up displays in modern cars as an example. But now that smart layers can also be integrated in every pair of glasses adjusted to their prescription strength, you can add extra information via augmented reality. Consider surgeons who can view X-ray images during an operation, or service technicians who can be assisted this way when repairing equipment. And what about subtitling for a movie, extra information about artworks in a museum or people with hearing loss who can then see spoken text?
Creators of the future
As crazy as anything sounds that you might come up with, it has already been thought of. All the examples I have mentioned above don’t come from my imagination, but directly from the Espacenet patent database. All these ideas have already been made public through patent applications. And in those patent documents you can read how they all work as well. For instance, how you can print those lenses in such a beautifully transparent way, what that smart layer exactly is made up of, or how you can control it. You can also see which company is working on what. For example, whether Google is working on a successor of Google Glass. (Yes it definitely is, take a look at US2020142203.)
Incidentally, looking through patent databases is fairly specialist work that requires some dexterity. Do you need help? My colleagues at the Netherlands Patent Office and I are happy to help you.

The image above is from the Luxexcel integrated Waveguide (see the appendix for a sharper image)

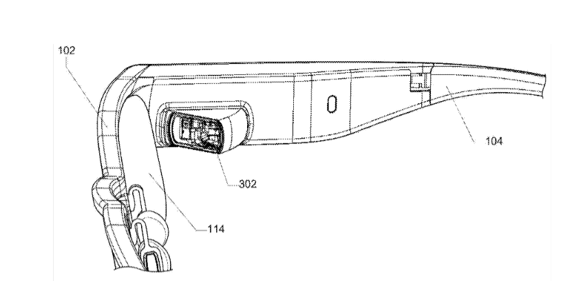
The image above is from patent number US2020142203, registered by ThirdEye Gen Inc. via Espacenet.

The above image is of a potential successor of Google Glass, out of patent number US2020142203, a patent pending in the name of Google.
About this column
In a weekly column, written alternately by Wendy van Ierschot, Eveline van Zeeland, Eugene Franken, Jan Wouters, Katleen Gabriels, Mary Fiers and Hans Helsloot Innovation Origins tries to figure out what the future will look like. These columnists, occasionally joined by guest bloggers, are all working in their own way on solutions to the problems of our time. So that tomorrow is good. Here are all the previous articles.




