Disney recently was granted U.S. patent number 11,360,471 for a mobile locker system they call a Robotic Sherpa. The modular mobile lockers can autonomously move about. Customers can recall these mobile lockers to their location or designated areas within the park.
A new way to carry belongings in theme parks
The Walt Disney Company aims to revolutionize the way guests carry their belongings while visiting their theme parks. The Robot Sherpa, a mobile locker system, is designed to make it more convenient for guests to access their items without having to carry them around all day. The system uses cameras to navigate through crowds and can be controlled via a mobile app that allows guests to recall and lock their mobile lockers.

Disney’s current locker systems at theme park entrances require guests to return to a specific location to access their belongings. With the Robot Sherpa, guests can enjoy the convenience of having their items brought to them, allowing them to focus on enjoying the park experience. This innovation could be particularly helpful for guests carrying packed lunches, umbrellas, merchandise purchases, or those with young children and disabilities.
Modular design and multiple locking mechanisms
The Robot Sherpa’s modular design enables the storage compartment to be detached from the mobility unit for storage or transfer via other means. This means that the storage compartment can be coupled with either the same or a different mobility unit. The patent describes various locking mechanisms, such as NFC or biometric locking, to ensure the security of guests’ belongings.

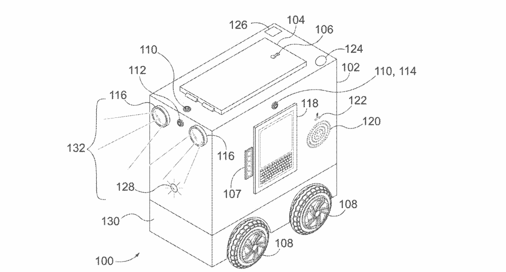
According to the patent’s abstract, the mobile locker can communicate with a monitoring center that oversees the deployment of multiple mobile lockers. The Robot Sherpa can also interact with customers through a display, microphone, and speaker, allowing for seamless communication between the guest and the locker system.
Potential applications and benefits
John Gerner, Managing Director of Leisure Business Advisors, envisions a scenario where Disney’s focus group of mothers expressed a desire for a more convenient way to store their belongings without having to carry them throughout the day. The Robot Sherpa’s technology could provide a win-win solution, offering a secure place for guests to store their items while they enjoy the park. This convenience could potentially be worth the extra cost for guests.
Cameras on the Robot Sherpa could serve multiple purposes, such as proximity sensors or providing live video feedback to a command center. Disney’s ultimate goal in developing this technology is to create an on-demand storage solution that isn’t tied to a physical building or wall, improving the overall guest experience at their theme parks.




